Промышленная Сибирь Ярмарка Сибири Промышленность СФО Электронные торги НОУ-ХАУ Электронные магазины Карта сайта
 
 

Поиск патентов

Как искать?
Реферат
Название
Публикация
Регистрационный номер
Имя заявителя
Имя изобретателя
Имя патентообладателя

    





Оформить заказ и задать интересующие Вас вопросы Вы можете напрямую c 6-00 до 14-30 по московскому времени кроме сб, вс. whatsapp 8-950-950-9888

На данной странице представлена ознакомительная часть выбранного Вами патента

Для получения более подробной информации о патенте (полное описание, формула изобретения и т.д.) Вам необходимо сделать заказ. Нажмите на «Корзину»


ПРОТРАВЛИВАТЕЛЬ СЕМЯН

Номер публикации патента: 2370937

Вид документа: C1 
Страна публикации: RU 
Рег. номер заявки: 2008115663/13 
  Сделать заказПолучить полное описание патента

Редакция МПК: 
Основные коды МПК: A01C001/06   A01C001/08    
Аналоги изобретения: ЧЕРВЯКОВ А.В. Новый протравливатель семян // защита и карантин растений. - 2004. - 1, с.40-41. RU 2246195 C2, 20.02.2005. RU 2316164 C1, 10.02.2008. RU 2219693 C2, 27.12.2003. 

Имя заявителя: Федеральное государственное общеобразовательное учреждение высшего профессионального образования "Челябинский государственный агроинженерный университет" (ФГОУ ВПО "Челябинский государственный агроинженерный университет") (RU) 
Изобретатели: Запевалов Михаил Вениаминович (RU)
Маринин Сергей Павлович (RU) 
Патентообладатели: Федеральное государственное общеобразовательное учреждение высшего профессионального образования "Челябинский государственный агроинженерный университет" (ФГОУ ВПО "Челябинский государственный агроинженерный университет") (RU) 

Реферат


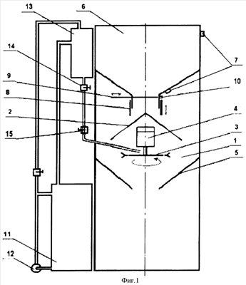
Изобретение относится к сельскому хозяйству. Протравливатель семян зерновых культур состоит из камеры протравливания с сужающейся в нижней части воронкой, в которой установлен конусный распределитель семян и под ним - ротационный распылитель рабочего раствора, бункера-дозатора семян с датчиками уровня, расположенного над камерой протравливания и соединенного с ней телескопической дозирующей заслонкой, бака для приготовления рабочего раствора с насосом, мерного цилиндра с дозатором рабочего раствора. Конусный распределитель семян установлен неподвижно, а в нижней его части по периметру выполнены вырезы, при этом ротационный распылитель рабочего раствора выполнен из одного диска с профилем «ласточкин хвост» с отверстиями по окружности и буртиком вокруг оси вращения в зоне подачи рабочего раствора. Перед дозирующей телескопической заслонкой может быть установлена отсекающаяся заслонка с электрическим концевым выключателем, соединенным с электромагнитным клапаном дозатора рабочего раствора, при этом рабочий раствор будет подаваться на распылитель самотеком. Изобретение позволяет повысить равномерность нанесения рабочего раствора на поверхность обрабатываемых семян, снизить затраты энергии на процесс распределения семян в камере протравливания, а также повысить техническую надежность конструкции. 1 з.п. ф-лы, 3 ил.

Дирекция сайта "Промышленная Сибирь"
Россия, г.Омск, ул.Учебная, 199-Б, к.408А
Сайт открыт 01.11.2000
© 2000-2018 Промышленная Сибирь
Разработка дизайна сайта:
Дизайн-студия "RayStudio"