Промышленная Сибирь Ярмарка Сибири Промышленность СФО Электронные торги НОУ-ХАУ Электронные магазины Карта сайта
 
 

Поиск патентов

Как искать?
Реферат
Название
Публикация
Регистрационный номер
Имя заявителя
Имя изобретателя
Имя патентообладателя

    





Оформить заказ и задать интересующие Вас вопросы Вы можете напрямую c 6-00 до 14-30 по московскому времени кроме сб, вс. whatsapp 8-950-950-9888

На данной странице представлена ознакомительная часть выбранного Вами патента

Для получения более подробной информации о патенте (полное описание, формула изобретения и т.д.) Вам необходимо сделать заказ. Нажмите на «Корзину»


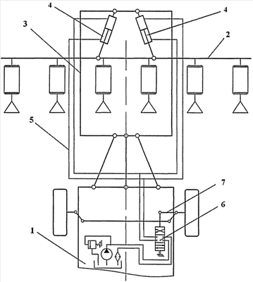
СЕЛЬСКОХОЗЯЙСТВЕННЫЙ АГРЕГАТ

Номер публикации патента: 2415528

Вид документа: C1 
Страна публикации: RU 
Рег. номер заявки: 2009125114/21 
  Сделать заказПолучить полное описание патента

Редакция МПК: 
Основные коды МПК: A01B059/041    
Аналоги изобретения: RU 2296447 С2, 10.04.2007. RU 2244390 С2, 20.01.2005. RU 2174295 С2, 10.10.2001. SU 1094788 A, 30.05.1984. FR 2408991 A1, 15.06.1979. 

Имя заявителя: Государственное образовательное учреждение высшего профессионального образования "Алтайский государственный технический университет им. И.И. Ползунова" (АлтГТУ) (RU) 
Изобретатели: Площаднов Александр Николаевич (RU)
Гамалеев Петр Павлович (RU)
Маршалов Эдуард Сергеевич (RU)
Курсов Иван Витальевич (RU)
Зейгерман Андрей Сергеевич (RU) 
Патентообладатели: Государственное образовательное учреждение высшего профессионального образования "Алтайский государственный технический университет им. И.И. Ползунова" (АлтГТУ) (RU) 

Реферат


Изобретение относится к сельскохозяйственному машиностроению и может быть использовано для междурядной обработки почвы. Агрегат содержит трактор с навеской и приспособление для фронтального навешивания культиватора, выполненное в виде замкнутого четырехугольника, задняя балка которого шарнирно соединена с навеской, а передняя балка - с культиватором. Связь передней балки приспособления и культиватора осуществляется посредством двух гидроцилиндров, соединенных при помощи гидролиний с гидрораспределителем, золотник которого связан с поворотным рычагом управляемых колес трактора. Снижается тяговое сопротивление сельскохозяйственного агрегата с фронтально навешенным культиватором, упрощается компоновка и снижаются усилия на органах управления. 1 ил.

Дирекция сайта "Промышленная Сибирь"
Россия, г.Омск, ул.Учебная, 199-Б, к.408А
Сайт открыт 01.11.2000
© 2000-2018 Промышленная Сибирь
Разработка дизайна сайта:
Дизайн-студия "RayStudio"