Промышленная Сибирь Ярмарка Сибири Промышленность СФО Электронные торги НОУ-ХАУ Электронные магазины Карта сайта
 
 

Поиск патентов

Как искать?
Реферат
Название
Публикация
Регистрационный номер
Имя заявителя
Имя изобретателя
Имя патентообладателя

    





Оформить заказ и задать интересующие Вас вопросы Вы можете напрямую c 6-00 до 14-30 по московскому времени кроме сб, вс. whatsapp 8-950-950-9888

На данной странице представлена ознакомительная часть выбранного Вами патента

Для получения более подробной информации о патенте (полное описание, формула изобретения и т.д.) Вам необходимо сделать заказ. Нажмите на «Корзину»


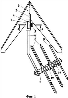
РАБОЧИЙ ОРГАН КУЛЬТИВАТОРА

Номер публикации патента: 2471327

Вид документа: C1 
Страна публикации: RU 
Рег. номер заявки: 2011145596/13 
  Сделать заказПолучить полное описание патента

Редакция МПК: 
Основные коды МПК: A01B035/16   A01B035/18   A01B039/20    
Аналоги изобретения: RU 100695 U1, 27.12.2010. RU 2269239 C1, 10.02.2006. RU 2236102 C1, 20.09.2004. US 2324064 A1, 13.07.1943. 

Имя заявителя: Федеральное государственное бюджетное образовательное учреждение высшего профессионального образования "Ульяновская государственная сельскохозяйственная академия" (RU) 
Изобретатели: Курдюмов Владимир Иванович (RU)
Зыкин Евгений Сергеевич (RU)
Шаронов Иван Александрович (RU) 
Патентообладатели: Федеральное государственное бюджетное образовательное учреждение высшего профессионального образования "Ульяновская государственная сельскохозяйственная академия" (RU) 

Реферат


Изобретение относится к области сельскохозяйственного машиностроения, в частности к почвообрабатывающим рабочим органам. Рабочий орган культиватора включает стойку (1), стрельчатую лапу (3), отвал (9) и кронштейн (4). Кронштейн (4) установлен на стойке (1). С кронштейном (4) жестко закреплен держатель (6) с осью (7). На оси (7) с возможностью свободного вращения установлены рыхлительные диски (8) и отвал (9). Рыхлительные диски (8) и отвал (9) расположены на оси (7) через равные интервалы и выполнены с увеличивающимся диаметром в направлении от отвала (9) к держателю (6). Между рыхлительными дисками (8) и отвалом (9) расположены упругие элементы (10) одинаковой жесткости и размеров. Такое конструктивное исполнение рабочего органа культиватора позволит повысить качество междурядной обработки пропашных культур. 2 ил.

Дирекция сайта "Промышленная Сибирь"
Россия, г.Омск, ул.Учебная, 199-Б, к.408А
Сайт открыт 01.11.2000
© 2000-2018 Промышленная Сибирь
Разработка дизайна сайта:
Дизайн-студия "RayStudio"