Промышленная Сибирь Ярмарка Сибири Промышленность СФО Электронные торги НОУ-ХАУ Электронные магазины Карта сайта
 
 

Поиск патентов

Как искать?
Реферат
Название
Публикация
Регистрационный номер
Имя заявителя
Имя изобретателя
Имя патентообладателя

    





Оформить заказ и задать интересующие Вас вопросы Вы можете напрямую c 6-00 до 14-30 по московскому времени кроме сб, вс. whatsapp 8-950-950-9888

На данной странице представлена ознакомительная часть выбранного Вами патента

Для получения более подробной информации о патенте (полное описание, формула изобретения и т.д.) Вам необходимо сделать заказ. Нажмите на «Корзину»


РУЧНОЕ ПОЧВООБРАБАТЫВАЮЩЕЕ УСТРОЙСТВО

Номер публикации патента: 2459396

Вид документа: C1 
Страна публикации: RU 
Рег. номер заявки: 2011110223/13 
  Сделать заказПолучить полное описание патента

Редакция МПК: 
Основные коды МПК: A01B001/00   A01B001/06   A01B001/08    
Аналоги изобретения: RU 2402185 C1, 27.10.2010. US 4377212 A, 22.03.1983. US 2127751 A, 23.08.1938. US 2639654 A, 26.05.1953. US 5983616 A, 16.11.1999. 

Имя заявителя: Федеральное государственное образовательное учреждение высшего профессионального образования "Белгородская государственная сельскохозяйственная академия" (RU) 
Изобретатели: Сахнов Андрей Васильевич (RU) 
Патентообладатели: Федеральное государственное образовательное учреждение высшего профессионального образования "Белгородская государственная сельскохозяйственная академия" (RU) 

Реферат


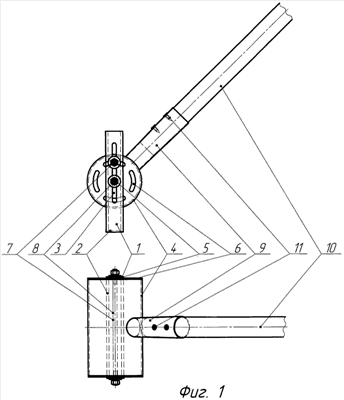
Устройство содержит П-образную скобу, на которой выполнены лезвия и вырез для цилиндра. На торцовых частях цилиндра расположены отверстия и прорези. Через отверстия и прорези, выполненные в цилиндре, а также через вырез, выполненный в П-образной скобе, установлены шпильки для фиксации П-образной скобы относительно цилиндра. Цилиндр выполнен с возможностью перемещения по вырезу скобы относительно шпилек, установленных в цилиндре. К цилиндру жестко прикреплена направляющая для крепления черенка. Устройство позволяет плавно регулировать глубину обработки почвы и наклон лезвия относительно черенка с учетом роста человека. 1 ил.

Дирекция сайта "Промышленная Сибирь"
Россия, г.Омск, ул.Учебная, 199-Б, к.408А
Сайт открыт 01.11.2000
© 2000-2018 Промышленная Сибирь
Разработка дизайна сайта:
Дизайн-студия "RayStudio"