|
На данной странице представлена ознакомительная часть выбранного Вами патента
Для получения более подробной информации о патенте (полное описание, формула изобретения и т.д.) Вам необходимо сделать заказ. Нажмите на «Корзину»
| КАРТОФЕЛЕКОПАТЕЛЬ РУЧНОЙ МОТЫЖНЫЙ |  |
Номер публикации патента: 2178965 |  |
| Редакция МПК: | 7 | | Основные коды МПК: | A01D011/02 A01B001/14 | | Аналоги изобретения: | Энциклопедия сибирского садовода и огородника./Под ред. И.П.Калининой - Барнаул: Алтайское книжное издательство, 1994, с.374. ТИТЧМАРШ А. Технология садоводства. - М.: Мир, 1993, с. 122. |
| Имя заявителя: | Хабардин Василий Николаевич | | Изобретатели: | Хабардин В.Н. Хабардина А.В. | | Патентообладатели: | Хабардин Василий Николаевич Хабардина Анна Васильевна |
Реферат |  |
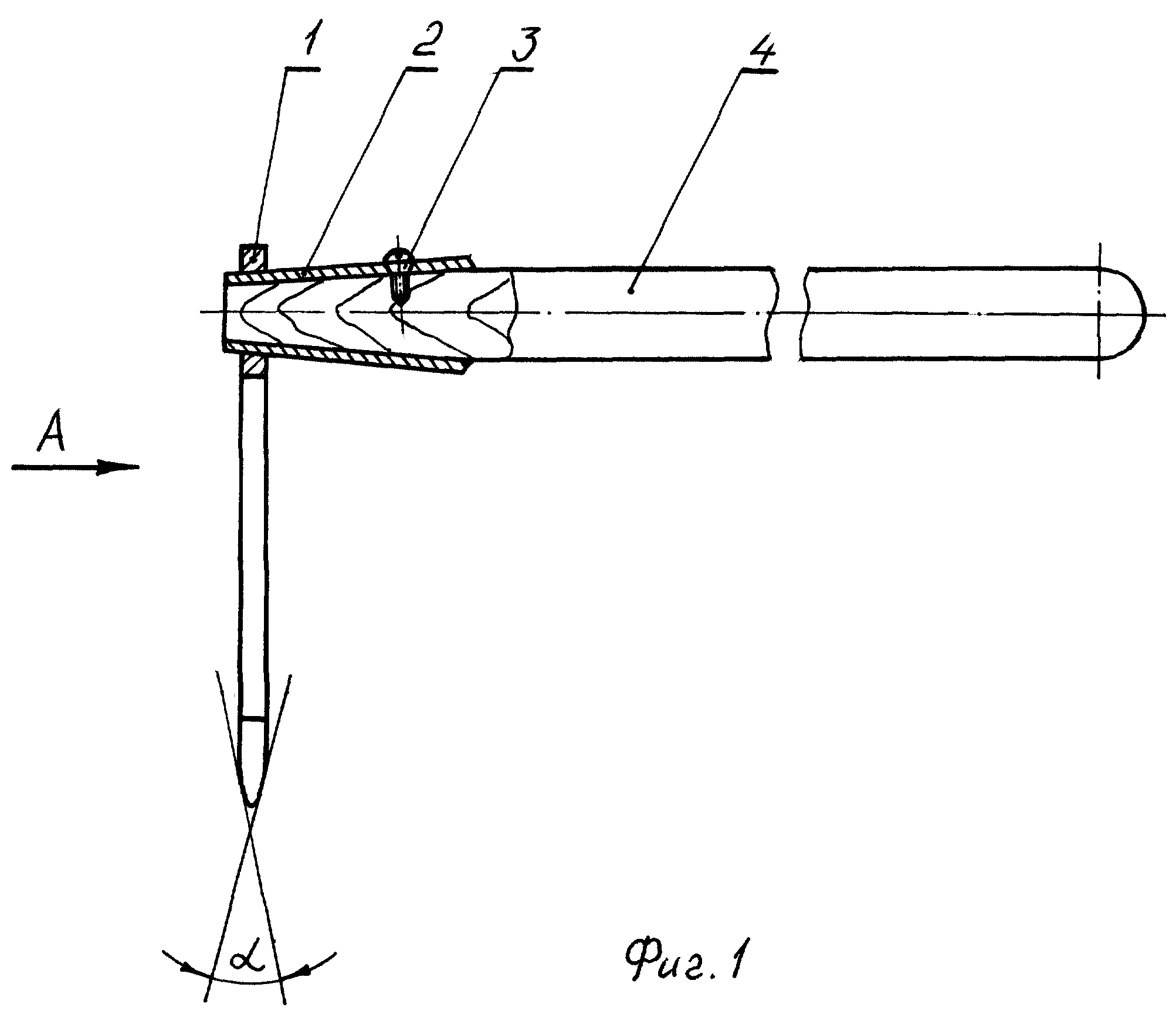
Изобретение относится к ручным орудиям для выкапывания овощей, преимущественно картофеля. Кроме того, оно может быть использовано в качестве рыхлителя, мотыги, полольника и других инструментов для обработки почвы и уничтожения сорняков на приусадебных и садово-огородных участках. Рабочий орган картофелекопателя выполнен в виде плоской подковообразной скобы. Она обеспечивает сепарацию клубней в момент их извлечения из почвы и, следовательно, сокращение затрат труда и энергии пользователя при выполнении работ. Грани зубьев по концам заточены под клин с образованием скруглений во взаимно перпендикулярных плоскостях, что также уменьшает энергозатраты на осуществление технологического процесса и в то же время предотвращает повреждение клубней. Картофелекопателем можно работать обеими руками и в положении стоя, что позволяет улучшить условия труда. В совокупности картофелекопатель обладает улучшенными эксплуатационными свойствами: универсален, удобен при использовании, энергоэкономичен и позволяет повысить производительность труда. 4 з.п. ф-лы, 2 ил.
|