Промышленная Сибирь Ярмарка Сибири Промышленность СФО Электронные торги НОУ-ХАУ Электронные магазины Карта сайта
 
 

Поиск патентов

Как искать?
Реферат
Название
Публикация
Регистрационный номер
Имя заявителя
Имя изобретателя
Имя патентообладателя

    





Оформить заказ и задать интересующие Вас вопросы Вы можете напрямую c 6-00 до 14-30 по московскому времени кроме сб, вс. whatsapp 8-950-950-9888

На данной странице представлена ознакомительная часть выбранного Вами патента

Для получения более подробной информации о патенте (полное описание, формула изобретения и т.д.) Вам необходимо сделать заказ. Нажмите на «Корзину»


ГЕРМЕТИЧНАЯ ЗАСТЕЖКА - МОЛНИЯ

Номер публикации патента: 2428901

Вид документа: C2 
Страна публикации: RU 
Рег. номер заявки: 2007112229/12 
  Сделать заказПолучить полное описание патента

Редакция МПК: 
Основные коды МПК: A44B019/00    
Аналоги изобретения: ЕР 0345799 А1, 13.12.1989. GB 631265 А, 31.10.1949. ЕР 0522366 А, 13.01.1993. GB 650599 А, 28.02.1951. 

Имя заявителя: РИРИ ГРУП С.А. (CH) 
Изобретатели: КОССУТТИ Ливио (IT) 
Патентообладатели: РИРИ ГРУП С.А. (CH) 
Приоритетные данные: 03.04.2006 US 11/278,500
25.04.2006 EP 06008458.9 

Реферат


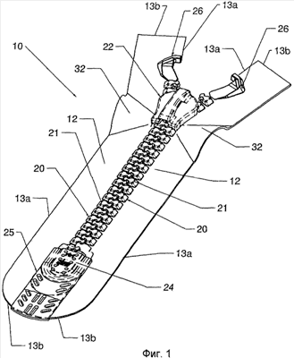
Изобретение относится к застежке-молнии. Изобретение направлено на создание герметичной застежки-молнии, отличающейся повышенной надежностью в течение длительного периода времени в том, что касается герметичности. Герметичная застежка-молния (10; 110; 210), имеющая пару лент (12), каждая из которых ограничена двумя противолежащими длинными кромками (13а) и двумя противолежащими короткими кромками (13b) и представляет собой полоску (14) текстильного материала, по меньшей мере противолежащие стороны которой покрыты защитным слоем (16, 18) задерживающего текучую среду материала и при этом полоска (14) не имеет такого защитного слоя по меньшей мере на одной из коротких кромок (13b) каждой ленты (12), и каждая лента (12) оснащена по меньшей мере на участке одной из ее длинных кромок (13а) выровненными в ряд (20) зубцами (21), которые обращены друг к другу и соединены с ограничителем (24) расстегивания и противолежащим ограничителем (26) застегивания, и подвижным бегунком (22), установленным с возможностью скольжения между ограничителем (26) застегивания и ограничителем (24) расстегивания с возможностью герметичного соединения или рассоединения зубцов (21) соответственно, отличающаяся тем, что она дополнительно имеет покрытие, сформированное на каждой ленте (12) на упомянутой по меньшей мере одной не имеющей защитного слоя короткой кромке (13b) и предназначенное для герметичного укрытия полоски (14) текстильного материала со стороны этой(-их) короткой(-их) кромки(-ок) (13b). 2 н. и 18 з.п. ф-лы, 10 ил.

Дирекция сайта "Промышленная Сибирь"
Россия, г.Омск, ул.Учебная, 199-Б, к.408А
Сайт открыт 01.11.2000
© 2000-2018 Промышленная Сибирь
Разработка дизайна сайта:
Дизайн-студия "RayStudio"